1. MỤC TIÊU
- Xác định các quá trình, sản phẩm, dịch vụ cần kiểm soát từ bên ngoài
- Xác định các tiêu chí đánh giá, lựa chọn và đánh giá lại các Nhà cung cấp từ bên ngoài
2. PHẠM VI ÁP DỤNG:
- Áp dụng với tất cả các vật tư, trang thiết bị chính dùng cho quá trình tạo dịch vụ của trung tâm FIT24 của Công ty.
- Áp dụng đối với BP Mua hàng.
3. NỘI DUNG
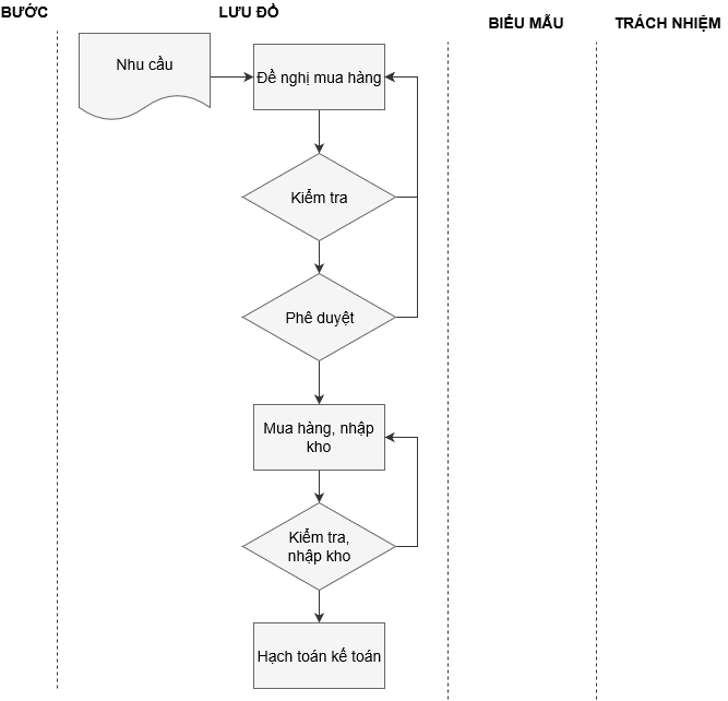
3.1 Hoạt động mua hàng – nhập kho

1. Căn cứ theo chương trình, hợp đồng tập luyện, các BP có liên quan đề xuất nhu cầu sử dụng Hàng hóa – Dịch vụ.
2. Bộ phận Mua hàng thẩm tra lại danh mục Hàng hóa – Dịch vụ cần cung cấp, kiểm tra lượng vật tư tồn kho.
– Nếu hàng hóa trong kho còn đủ thì tiến hành cung ứng cho bộ phận yêu cầu.
– Nếu trong kho không còn đủ hàng hóa hoặc bộ phận mua hàng xác định cần nhập vật tư khi nhận thấy trong kho nguyên liệu không còn nhiều vật tư phục vụ cho các hoạt động cung cấp dịch vụ của Công ty tiếp theo thì phải thực hiện hoạt động mua Hàng hóa – Dịch vụ từ NCC bên ngoài.
3.Bộ phận mua hàng tiến hành lựa chọn nhà cung cấp bên ngoài có trong danh sách nhà cung cấp, nếu là nhà cung cấp mới phải lập phiếu thu thập thông tin nhà cung cấp theo F02-QT840. BP MH đàm phán giá cả lập phiếu yêu cầu mua vật tư theo F01-QT840. Phiếu yêu cầu mua Hoàng hóa – DV (kèm bảng báo giá-nếu có), phiếu thu thập thông tin nhà cung cấp (nếu có), hợp đồng (nếu có) trình giám đốc Công ty phê duyệt.
4. Khi phiếu yêu cầu mua Hàng hóa – Dịch vụ đã được lãnh đạo Công ty phê duyệt, bộ phận Mua hàng triển khai mua hàng. Các hoạt động mua hàng, trao đổi thông tin, đặt hàng với nhà cung cấp bên ngoài có thể được thực hiện theo các hình thức:
– Lập đơn đặt hàng
– Email, điện thoại. Nếu việc trao đổi thông tin với khách hàng không bằng văn bản thì NV mua hàng phải ghi chép lại và theo dõi các thông tin này.
5. Khi Hàng hóa – Dịch vụ nhập về Công ty, bộ phận mua hàng cùng BP tiếp nhận Hàng hóa – Dịch vụ có trách nhiệm thực hiện kiểm tra. Bộ phận mua hàng chịu trách nhiệm kiểm tra về số lượng, chủng loại, xuất xứ. Bộ phận tiếp nhận chịu trách nhiệm kiểm tra về chất lượng, thành phần Hàng hóa – Dịch vụ. Kết quả kiểm tra được bộ phận mua hàng cập nhật vào sổ theo dõi thực hiện của nhà cung cấp làm cơ sở đánh giá và xem xét năng lực nhà cung cấp. Khi nhà cung cấp không tuân thủ đúng cam kết trong hợp đồng/đơn hàng, phải báo cho Giám đốc để giải quyết.
6. Các Hàng hóa – Dịch vụ đạt các yêu cầu, bộ phận mua hàng tiến hành nhập kho theo qui định.
3.2 Xuất kho

3.3 Theo dõi và đánh giá nhà cung cấp :

Tất cả các nhà cung cấp đã có quan hệ lâu dài từ trước cho đến thời điểm ban hành qui trình quản lý này đều có đủ năng lực theo yêu cầu của công ty, do đó không phải tiến hành đánh giá ban đầu mà chỉ đưa vào danh sách nhà cung cấp.
Nếu là nhà cung cấp mới chưa có tên trong danh sách, trình tự đánh giá như sau :
ü Bộ phận mua hàng tiến hành thu thập thông tin về nhà cung cấp, phân tích, đánh giá các nhà cung cấp theo các yêu cầu riêng cho từng Hàng hóa – Dịch vụ hoặc từng nhóm Hàng hóa – Dịch vụ và ghị cụ thể theo F02-QT840 Tiêu chí chấp nhận: đáp ứng được các yêu cầu về năng lực cung cấp, tiến độ, giá cả, chất lượng.
- Giám đốc phê duyệt phiếu đánh giá nhà cung cấp.
- Đưa vào danh sách nhà cung cấp.
- Lập sổ theo dõi nhà cung cấp khi tiến hành mua Hàng hóa – Dịch vụ của họ.
Định kỳ 1 năm / 1lần, Bộ phận mua hàng tiến hành xem xét lại nhà cung cấp bên ngoài.
Báo cáo Giám đốc về việc tiếp tục duy trì hoặc loại bỏ nhà cung cấp ra khỏi danh sách.
Tiêu chí loại bỏ:
- Chất lượng không đạt yêu cầu : vi phạm từ 02 lần trong năm mà nhà cung cấp không có biện pháp khắc phục đối với sai phạm
- Cung cấp thiếu số lượng, sai chủng loại: vi phạm 02 lần liên tiếp mà nhà cung cấp không có biện pháp khắc phục đối với sai phạm
- Tiến độ chậm, giao hàng không đúng ngày: vi phạm 03 lần trong năm.
4. LƯU TRỮ
Thông tin dạng văn bản lưu trữ trong thời gian 1 năm bao gồm ;
- Các yêu cầu mua vật tư
- Hợp đồng và phụ lục hợp đồng.
- Các thư chào hàng.
- Thư từ giao dịch trong quá trình đàm phán.
- Thông tin về nguồn gốc, xuất xứ của Hàng hóa – Dịch vụ
Thông tin dạng văn bản lưu trữ không kỳ hạn bao gồm: sổ theo dõi nhà cung cấp; danh sách nhà cung cấp; phiếu đánh giá và các biên bản báo cáo về nhà cung cấp.
5. PHỤ LỤC
- F01-QT840 : Yêu đề nghị mua Hàng hóa – Dịch vụ
- F01-QT840-Yêu cầu mua hàng hóa dịch vụ (453 downloads)
F02-QT840 : Phiếu thu thập thông tin nhà cung cấp F02-QT840-Phiếu thu thập thông tin nhà cung cấp (455 downloads)